Join
Proto save
£0.63
Kennedy Brazed Tip Turning & Boring Tools are manufactured in three standard grades. (All sizes are nominal). Manufactured to ISO DIN BHMA Standards.
P40: Roughing to heavy roughing of steel and steel castings using heavy feeds and low to medium cutting speeds. Also used under unfavourable conditions, particularly where intermittent cutting is involved. This grade is also suitable for planing operations and for machining manganese steel.
P30: Carbide tipped tools are suitable for heavy duty turning and boring on all classes of steel. Suitable also for interrupted cutting and machining at low speeds and heavy feeds.
K20: General-purpose tools for most applications. Ideal for machining cast iron, non-ferrous metals, bakelite etc. Combines wear resistance with toughness when rough turning at moderate cutting speeds. Suitable for high feed rates.
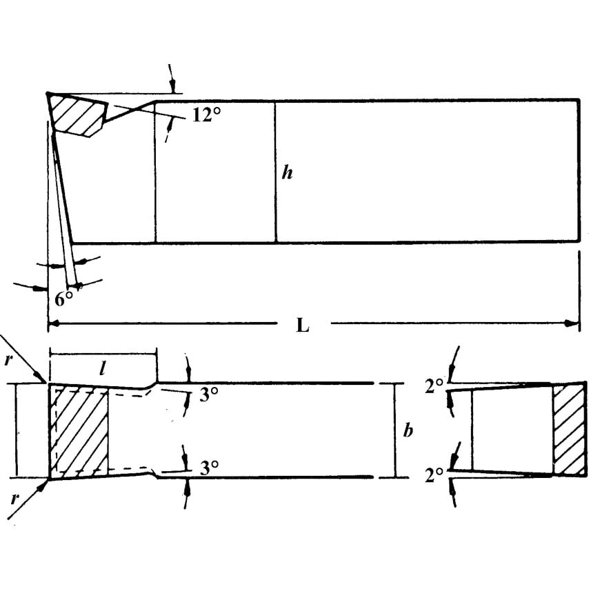
| Standards Met | ISO DIN BHMA |
| ISO Cut | K20 |
| ISO Category Grade | K |
| Material Application | Cast Iron | Nonferrous Metals |
| Tool Number | 232 |
| Shank Width | 1/2in |
| Cutting Direction | Neutral |
| Clearance Angle | 6\u00b0 |
| Tip Material | Carbide |
| Overall Length | 4in |
| Tool Type | Straight Recessing |
| Shank Height | 1/2in |
Payment & Security
Payment methods
Your payment information is processed securely. We do not store credit card details nor have access to your credit card information.

