Join
Proto save
£0.73
Kennedy Brazed Tip Turning & Boring Tools are manufactured in three standard grades. (All sizes are nominal). Manufactured to ISO DIN BHMA Standards.
P30: Carbide tipped tools are suitable for heavy duty turning and boring on all classes of steel. Suitable also for interrupted cutting and machining at low speeds and heavy feeds.
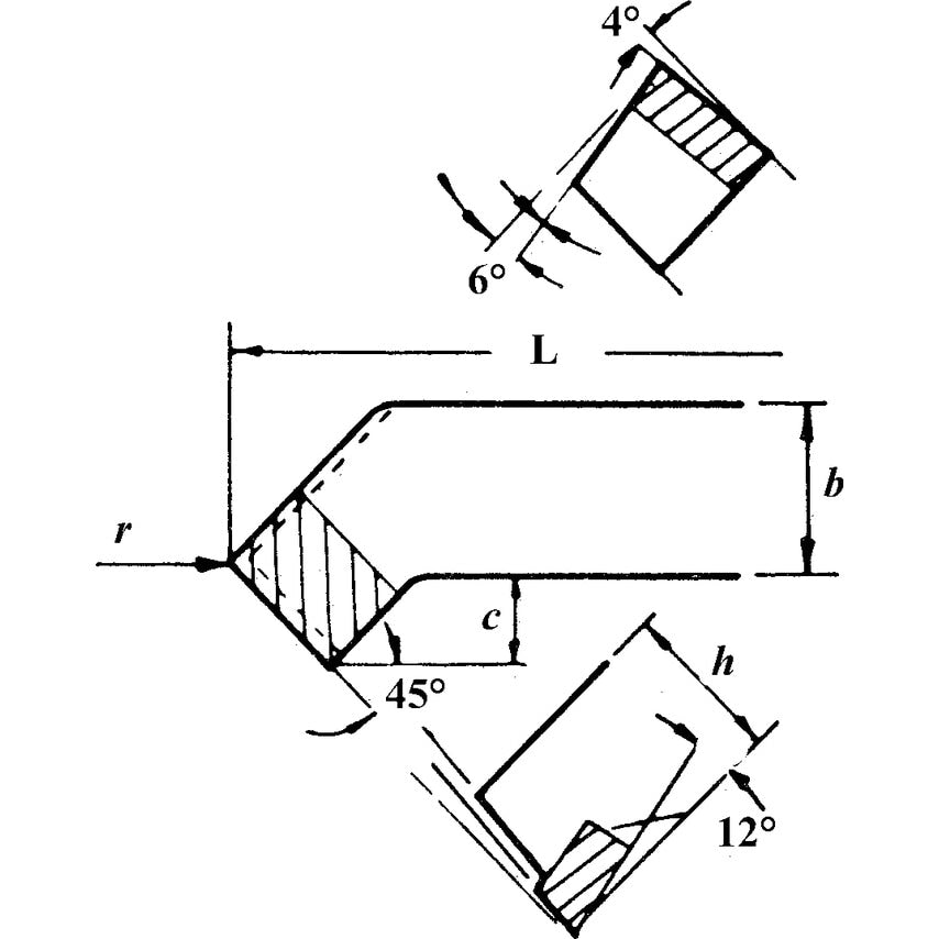
| Overall Length | 4in |
| Tool Number | 192 |
| Cutting Direction | Right Hand |
| Shank Height | 1/2in |
| Standards Met | ISO DIN BHMA |
| Tip Material | Carbide |
| ISO Category Grade | P |
| Tool Type | Cranked Turning & Facing |
| Material Application | Steels |
| ISO Cut | P20 - P30 |
| Clearance Angle | 6\u00b0 |
| Shank Width | 1/2in |
Payment & Security
Payment methods
Your payment information is processed securely. We do not store credit card details nor have access to your credit card information.

