Join
Proto save
£0.82
Kennedy Brazed Tip Turning & Boring Tools are manufactured in three standard grades. (All sizes are nominal). Manufactured to ISO DIN BHMA Standards.
P40: Roughing to heavy roughing of steel and steel castings using heavy feeds and low to medium cutting speeds. Also used under unfavourable conditions, particularly where intermittent cutting is involved. This grade is also suitable for planing operations and for machining manganese steel.
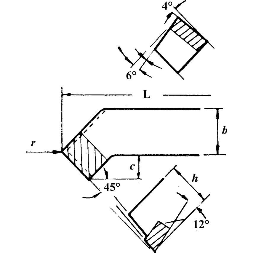
| Tool Number | 196 |
| Cutting Direction | Right Hand |
| Clearance Angle | 6\u00b0 |
| ISO Cut | P40 |
| Shank Width | 5/8in |
| Tool Type | Cranked Turning & Facing |
| Shank Height | 5/8in |
| ISO Category Grade | P |
| Material Application | Steels |
| Tip Material | Carbide |
| Overall Length | 5in |
| Standards Met | ISO DIN BHMA |
Payment & Security
Payment methods
Your payment information is processed securely. We do not store credit card details nor have access to your credit card information.

