Join
Proto save
£5.74
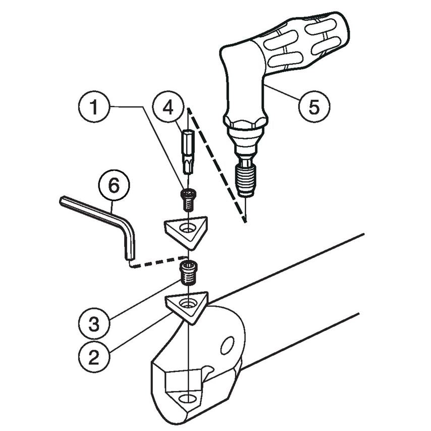
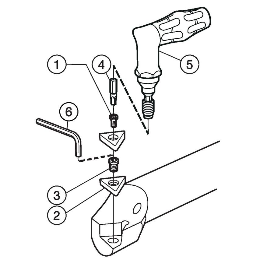
Product Range: CoroTurn 107Tool Type: Internal/External turningFor internal and external turning of slender componentsInserts and tool holders with rail interface ensure mounting security and offer secure machining for profiling and pocketing applications. When the insert is indexed the same way every time you can increase productivity and achieve higher quality.Screw clamp design of CoroTurn 107 ensures stability and unobstructed chip flow while turning. It is easy to handle, clean and maintain.Tool holders are equipped with nozzles that direct precision coolant right at the insert edge to boost process security and provide excellent chip control.Features & Benefits- Turning tools with single-sided ISO inserts- Wide assortment for all application areas- Precision over and under coolant- Wiper geometries available for high feeds and high quality surface finish- Low cutting forces and precision coolant combined with a broad range of inserts ensures high quality surface finish.- Ground, extremely sharp insert offer for exceptional surface finish- Holders with conventional and precision coolant designInternal operations:- Long overhangs, 46 D- Longitudinal turning and profiling- Boring holes, from diameter 6 mm (0.236 inch)External operations:- Small and slender or thin-walled components- Longitudinal turning, facing and profiling- Pocketing with non-linear methods, e.g. dynamic turning and waveform
| Body Diameter | 0.787402in |
| Tool Lead Angle | -17.5 deg |
| Damping Property | No |
| Coolant Exit Style | 3 |
| CoroPak | 0.2 |
| Maximum Overhang | 80mm |
| Workpiece Side Body Angle | 0\u00b0 |
| Minimum Bore Diameter | 27mm |
| Through Hole Function Property | Yes |
| Coolant Entry Style | 1 |
| Weight | 0.49kg |
| Body Material | Steel |
| Maximum Ramping Angle | 35\u00b0 |
| Machine Side Body Angle | 0\u00b0 |
| Hand Preference | Left |
| MFR Part No. | 11244844 |
| Tool Cutting Edge Angle | 107.5\u00b0 |
| Functional Length | 250mm |
| Connection Diameter | 20mm |
| Unit Measured | Metric |
Payment & Security
Payment methods
Your payment information is processed securely. We do not store credit card details nor have access to your credit card information.



