A20S-SVUBL 11EB1 Toolholder

Sandvik Coromant  |  SKU: ZT1205502X
Cash
£191.39
Standard price
Pro
£185.65
With tools.com Pro
Finance
£3.93
/week
Approx. See your options
Save on every purchase
Theft replacement plan
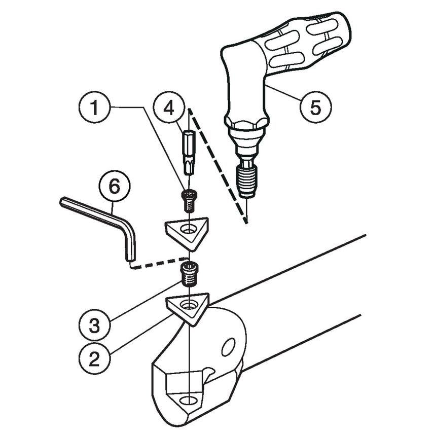
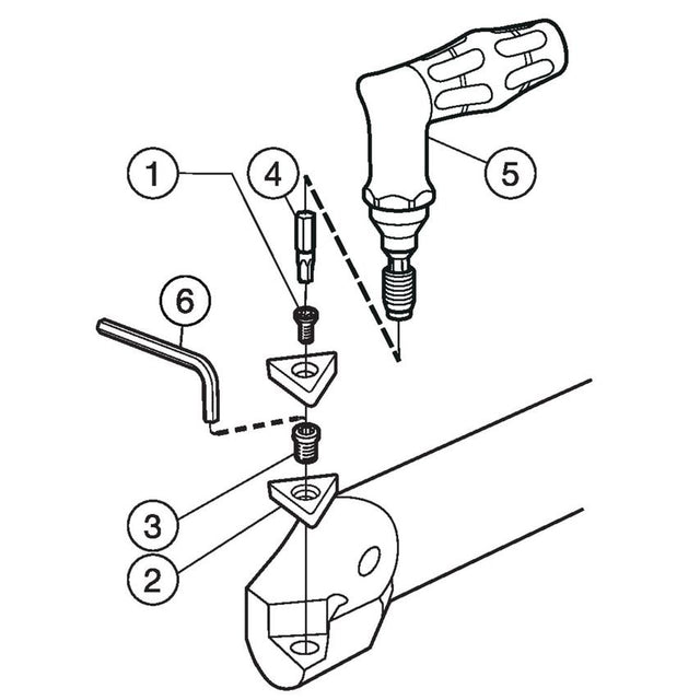
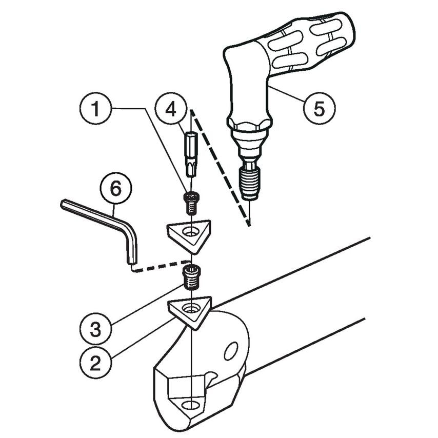
Product Range: CoroTurn 107Tool Type: Internal/External turningFor internal and external turning of slender componentsInserts and tool holders with rail interface ensure mounting security and offer secure machining for profiling and pocketing applications. When the insert is indexed the same way every time you can increase productivity and achieve higher quality.Screw clamp design of CoroTurn 107 ensures stability and unobstructed chip flow while turning. It is easy to handle, clean and maintain.Tool holders are equipped with nozzles that direct precision coolant right at the insert edge to boost process security and provide excellent chip control.Features & Benefits- Turning tools with single-sided ISO inserts- Wide assortment for all application areas- Precision over and under coolant- Wiper geometries available for high feeds and high quality surface finish- Low cutting forces and precision coolant combined with a broad range of inserts ensures high quality surface finish.- Ground, extremely sharp insert offer for exceptional surface finish- Holders with conventional and precision coolant designInternal operations:- Long overhangs, 46 D- Longitudinal turning and profiling- Boring holes, from diameter 6 mm (0.236 inch)External operations:- Small and slender or thin-walled components- Longitudinal turning, facing and profiling- Pocketing with non-linear methods, e.g. dynamic turning and waveform
Hand Preference Left
Maximum Ramping Angle 50\u00b0
Weight 0.5kg
Coolant Entry Style 1
Through Hole Function Property Yes
Maximum Overhang 80mm
Connection Diameter 20mm
Body Material Steel
Workpiece Side Body Angle 0\u00b0
Functional Length 250mm
Coolant Exit Style 3
Unit Measured Metric
Damping Property No
Body Diameter 0.787402in
Machine Side Body Angle 0\u00b0
CoroPak 0.2
MFR Part No. 11244785
Minimum Bore Diameter 27mm
Tool Cutting Edge Angle 93\u00b0
Tool Lead Angle -3 deg

Payment & Security

Payment methods

  • American Express
  • Apple Pay
  • Diners Club
  • Discover
  • Google Pay
  • Maestro
  • Mastercard
  • Shop Pay
  • Union Pay
  • Visa

Your payment information is processed securely. We do not store credit card details nor have access to your credit card information.