Join
Proto save
£8.58
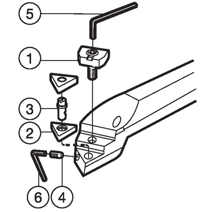
Product Range: T-Max PTool Type: External TurningProductive external turning of large to medium sized componentsNew generation steel turning gradesSteel turning grades GC4425 and GC4415 deliver improved wear resistance, heat resistance and toughness. Second generation Inveio coating technology provides further improved crystal orientation for increased wear resistance and an even more consistent performance.Chip control and process securityPre-directed precision nozzles create parallel laminar jets of coolant with high velocity, directed at the right place of the insert edge. It is the precision and character of these jets that make the difference in terms of chip control and process security.Excellent surface finishDouble-sided inserts have strong edges that offer reliable and secure machining for all applications. Use Wiper and Xcel technologies for machining at even high feed rates without affecting surface finish or chip breaking ability.Features & Benefits- Turning tools with double-sided ISO inserts- Wide assortment for all application areas- Precision over and under coolantOptimized for external turning- Longitudinal turning, Face turning, Profiling, Roughing to finishing- External turning of medium to large components from diameter 30 mm (1.18 inch)- Internal turning of large diameter bores from diameter 50 mm (2 inch)
| CoroPak | 32 |
| Coolant Exit Style | 0 |
| Machine Side Body Angle | 0\u00b0 |
| Body Diameter | 0.98in |
| Minimum Bore Diameter | 32mm |
| Weight | 1032g |
| Hand Preference | Right |
| Maximum Ramping Angle | 0\u00b0 |
| MFR Part No. | 10273270 |
| Coolant Entry Style | Without Coolant |
| Functional Length | 300mm |
| Body Material | Steel |
| Through Hole Function Property | Yes |
| Workpiece Side Body Angle | 0\u00b0 |
| Maximum Overhang | 100mm |
| Connection Diameter | 6mm |
| Tool Cutting Edge Angle | 91\u00b0 |
| Damping Property | No |
| Tool Lead Angle | -1 deg |
| Unit Measured | Metric |
Payment & Security
Payment methods
Your payment information is processed securely. We do not store credit card details nor have access to your credit card information.



