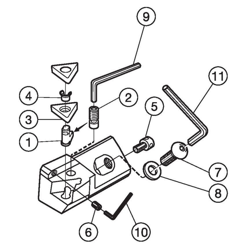
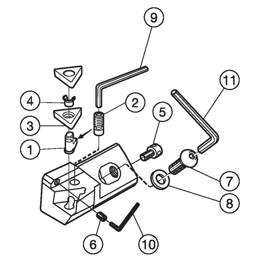
PCLNR 25CA 19 Cartridge

Sandvik Coromant  |  SKU: ZT1004719P
Cash
£186.99
Standard price
Pro
£181.38
With tools.com Pro
Finance
£3.84
/week
Approx. See your options
Save on every purchase
Theft replacement plan
Product Range: T-Max PTool Type: External TurningProductive external turning of large to medium sized componentsNew generation steel turning gradesSteel turning grades GC4425 and GC4415 deliver improved wear resistance, heat resistance and toughness. Second generation Inveio coating technology provides further improved crystal orientation for increased wear resistance and an even more consistent performance.Chip control and process securityPre-directed precision nozzles create parallel laminar jets of coolant with high velocity, directed at the right place of the insert edge. It is the precision and character of these jets that make the difference in terms of chip control and process security.Excellent surface finishDouble-sided inserts have strong edges that offer reliable and secure machining for all applications. Use Wiper and Xcel technologies for machining at even high feed rates without affecting surface finish or chip breaking ability.Features & Benefits- Turning tools with double-sided ISO inserts- Wide assortment for all application areas- Precision over and under coolantOptimized for external turning- Longitudinal turning, Face turning, Profiling, Roughing to finishing- External turning of medium to large components from diameter 30 mm (1.18 inch)- Internal turning of large diameter bores from diameter 50 mm (2 inch)
Minimum Bore Diameter (D) 100mm
Tool Lead Angle -5 deg
Coolant Exit Style Code 15.88
Cutting Direction Right Hand
Shank Width (b) 25mm
Through Hole Function Property Yes
Hand Preference Right
Unit Measured Metric
CoroPak 77.1
MFR Part No. 10066512
Weight 0.46kg
Functional Length 100mm
Tool Cutting Edge Angle 95\u00b0
Unit System Metric
Maximum Overhang 100mm

Payment & Security

Payment methods

  • American Express
  • Apple Pay
  • Diners Club
  • Discover
  • Google Pay
  • Maestro
  • Mastercard
  • Shop Pay
  • Union Pay
  • Visa

Your payment information is processed securely. We do not store credit card details nor have access to your credit card information.