All ISO Toolholders products
CoroTurn Adaptors
Threading Toolholders
Turning Toolholders
DCBNR 3225P 16-2 Tool Holder
DCBNR 3232P 19 Toolholder
DCBNL 2525M 12 Toolholder
DCBNL 3225P 12 Toolholder
DCBNR 2020K 12 Toolholder
DCBNR 3232P 16 Toolholder
DWLNL 2020K 08 Shank Tool
DCBNR 2525M 16 Toolholder
DWLNL 2020-K06 Toolholder
DWLNL 3225P 08 Shank Tool
DWLNL 3232P 08 Toolholder
DWLNR 3225P 06 Shank Tool
CSRPL 3225P 12-IC Tool Holder
CTGNL 2525M 16-ID Tool Holder
CTGNL 3225P 16-ID Tool Holder
CCLNR 3232P 16-4 Tool Holder
CCLNL 3225P 16-4 Tool Holder
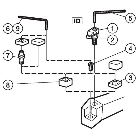
CTGNR 3225P 16-ID Tool Holder
CTGNR 2525M 16-ID Tool Holder
CRDCN 5040T 25-ID Tool Holder
CSRPR 3225P 12-IC Tool Holder
CTGNR 2525M 11-ID Tool Holder
CRDNN 3232P 15-ID Tool Holder
CRDNN 3232P 19-ID Tool Holder
CRSNR 3225P 12-ID Tool Holder
CRSNL 2525M12-ID Toolholder
CSBPL 2525M 12 Tool Holder
DCLNL 4040S 25 Toolholder
CRSNL 5040T 25-ID Tool Holder
CRSNL 3232P 15-ID Tool Holder
DCLNL 2525M 12 Toolholder
DCLNL 4040S 12 Toolholder
DCLNL 2020K 09 Toolholder
DCLNL 3225P 16 Toolholder
DCLNR 4040S 12 Toolholder
DCLNR 2525M 16-2 Tool Holder
DDJNR 3232P 11 Toolholder
DDJNL 2525M 15-2 Tool Holder
DDJNR 1616H 11 Toolholder
DDJNL 2525M 1504 Shank Tool
DDJNL 4040S 15 Toolholder
DDJNL 2020K 15 Toolholder
DDJNL 3232P 15-2 Tool Holder
266LFA-1616-16 Tool Holder
266LFGZ2525-22 Tool Holder
A32T-DSKNL 12 Boring Bar
266LFG-2525-22 Tool Holder
266LFA-1616-16-S Tool Holder
Your cart is empty
Subtotal:£0.00 GBP
Loading...
Get early access to new tools, restocks, and exclusive product launches before anyone else.
Select your region so we can take you to the correct website and help you get organised.