Join
                    
                      
                      Proto save
                    
                      £6.93
                    
                  
                  
                
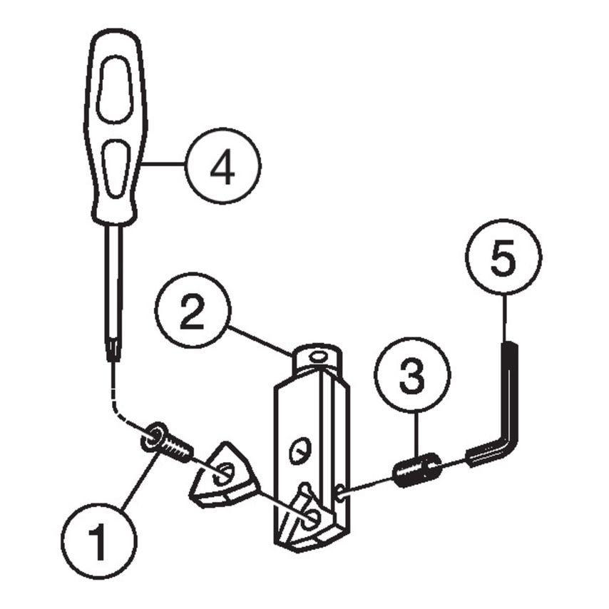
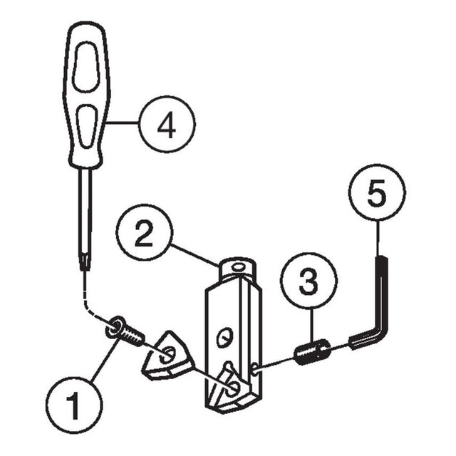
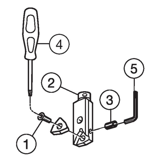
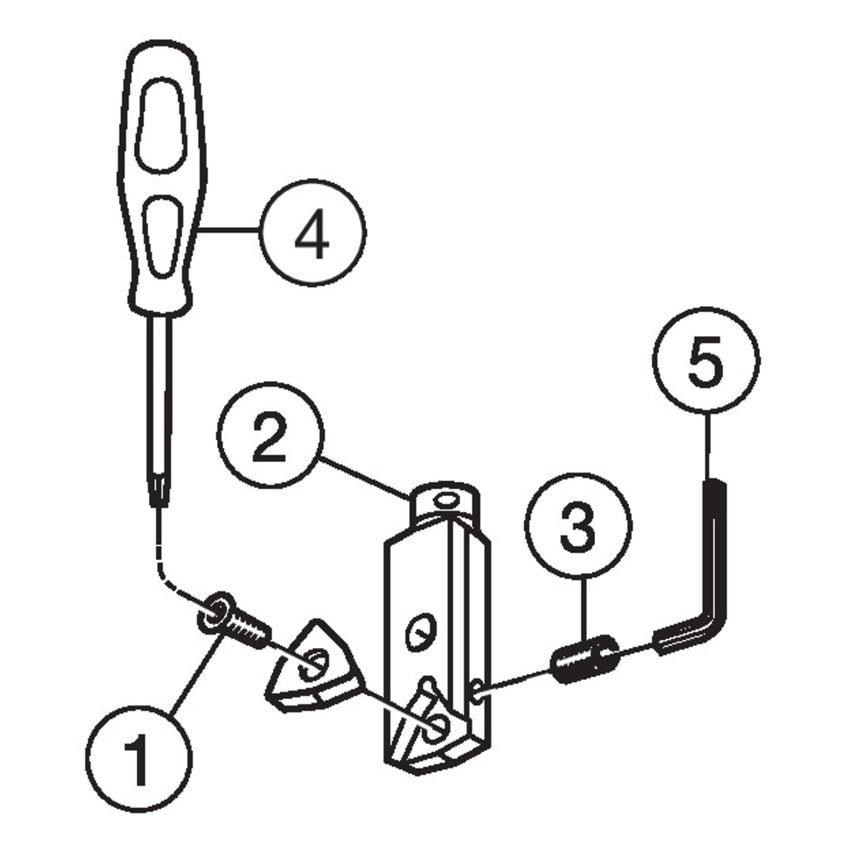
                          T-Max U - Assembly item
                        
| Unit Measured | Metric | 
| CoroPak | 60.1 | 
| MFR Part No. | 10333853 | 
| Product Type | Assembly item | 
Payment & Security
Payment methods
Your payment information is processed securely. We do not store credit card details nor have access to your credit card information.

 
              