Join
Proto save
£3.96
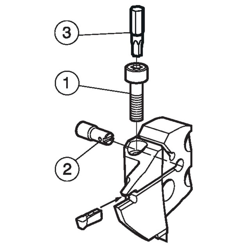
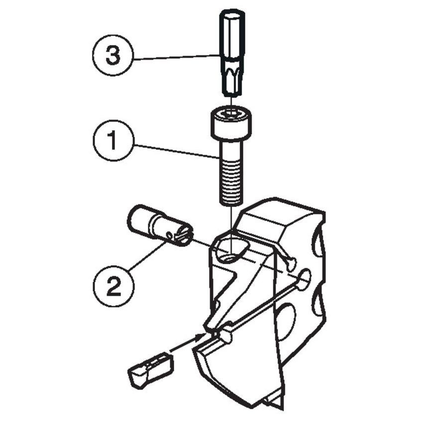
Product Range: CoroCut 1-2Tool Type: Parting and GroovingVersatile parting and grooving. Cost efficiency with two edges. Secure and efficient machining.With more than 700 standard inserts, CoroCut 1-2 covers all parting and grooving applications in most materials, from standardized grooves to parting off and profiling in heat resistant super alloys.Features & Benefits- Versatile parting and grooving- Geometries and grades for all application areas- Precision over and under coolantApplicationParting, external grooving, face grooving, internal grooving, profiling and hard part turningRoughing to finishingIn parting off and external grooving CoroCut 1-2 is a cost-efficient solution to depths where the 2-edged inserts can be used.
| Coolant Entry Style | 1 |
| Minimum Bore Diameter | 145mm |
| Coolant Exit Style | 5 |
| Connection Diameter | 25mm |
| Maximum Overhang | 13.25mm |
| Functional Length | 14mm |
| Unit Measured | Metric |
| Workpiece Side Body Angle | 90\u00b0 |
| Maximum Cutting Depth | 12mm |
| Hand Preference | Right |
| Through Hole Function Property | Yes |
| CoroPak | 4.2 |
| MFR Part No. | 11795545 |
Payment & Security
Payment methods
Your payment information is processed securely. We do not store credit card details nor have access to your credit card information.



