Join
Proto save
£9.90
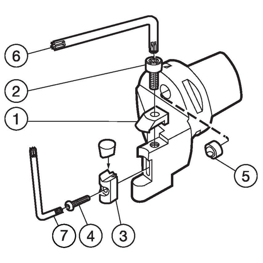
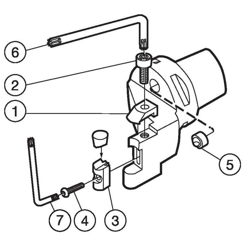
Tool type: External TurningFor productive turning of difficult to machine materialsStable insert clampingIt is very important to have a stable clamping while turning difficult-to-machine materials. T-Max offers stable clamping for both insert without hole and with dimple-hole.High performing gradesWith our latest Ceramic and solid CBN grades you can increase the cutting speeds to achieve higher metal removal rates and maximize production output.Reliable and secure machiningWide assortment of V-bottom and double-sided flat inserts and modern grades have strong edges that offer reliable and secure machining for all roughing to finishing operations.Features & Benefits- Turning tools with round ceramic inserts- For aerospace and other HRSA applications- Modular tools with Coromant Capto and SL70 couplingsExternal and internal turning- Longitudinal turning- Face turning- Profiling and pocketing- Roughing to finishing
| Maximum Overhang | 60mm |
| CoroPak | 43 |
| Damping Property | No |
| Hand Preference | Right |
| Machine Side Body Angle | 0\u00b0 |
| Workpiece Side Body Angle | 0\u00b0 |
| Functional Length | 60mm |
| Connection Diameter | 50mm |
| Usable Length | 60mm |
| MFR Part No. | 10539270 |
| Body Material | Steel |
| Unit System | Metric |
| Through Hole Function Property | Yes |
| Maximum Ramping Angle | 12\u00b0 |
| Weight | 0.75kg |
Payment & Security
Payment methods
Your payment information is processed securely. We do not store credit card details nor have access to your credit card information.



