Join
Proto save
£10.56
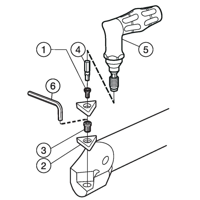
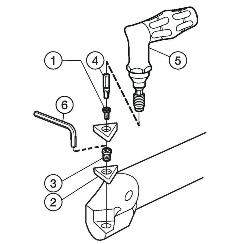
Product Range: CoroTurn 107Tool Type: Internal/External turningFor internal and external turning of slender componentsInserts and tool holders with rail interface ensure mounting security and offer secure machining for profiling and pocketing applications. When the insert is indexed the same way every time you can increase productivity and achieve higher quality.Screw clamp design of CoroTurn 107 ensures stability and unobstructed chip flow while turning. It is easy to handle, clean and maintain.Tool holders are equipped with nozzles that direct precision coolant right at the insert edge to boost process security and provide excellent chip control.Features & Benefits- Turning tools with single-sided ISO inserts- Wide assortment for all application areas- Precision over and under coolant- Wiper geometries available for high feeds and high quality surface finish- Low cutting forces and precision coolant combined with a broad range of inserts ensures high quality surface finish.- Ground, extremely sharp insert offer for exceptional surface finish- Holders with conventional and precision coolant designInternal operations:- Long overhangs, 46 D- Longitudinal turning and profiling- Boring holes, from diameter 6 mm (0.236 inch)External operations:- Small and slender or thin-walled components- Longitudinal turning, facing and profiling- Pocketing with non-linear methods, e.g. dynamic turning and waveform
| Functional Length | 15.88mm |
| Coolant Entry Style | 1 |
| Damping Property | No |
| Machine Side Body Angle | 0\u00b0 |
| Maximum Ramping Angle | 0\u00b0 |
| Maximum Overhang | 127mm |
| Tool Lead Angle | -1 deg |
| Body Diameter | 1.25in |
| CoroPak | 98 |
| Minimum Bore Diameter | 37.3mm |
| Connection Diameter | 31.75mm |
| Hand Preference | Right |
| Body Material | Steel |
| Unit Measured | Imperial |
| MFR Part No. | 5721776 |
| Through Hole Function Property | Yes |
| Weight | 1.63kg |
| Workpiece Side Body Angle | 0\u00b0 |
| Coolant Exit Style | 3 |
| Tool Cutting Edge Angle | 91\u00b0 |
Payment & Security
Payment methods
Your payment information is processed securely. We do not store credit card details nor have access to your credit card information.



