Join
Proto save
£5.94
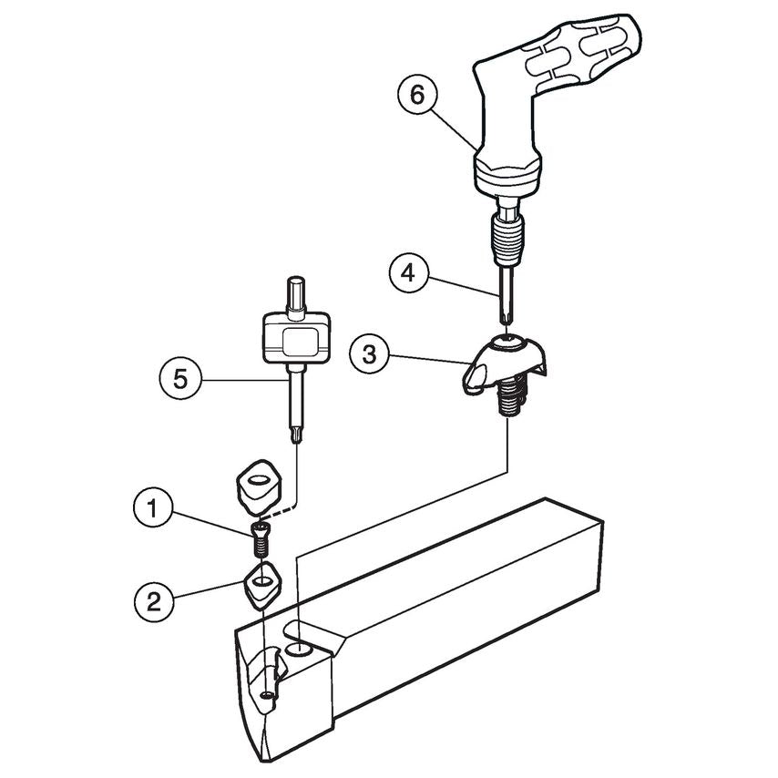
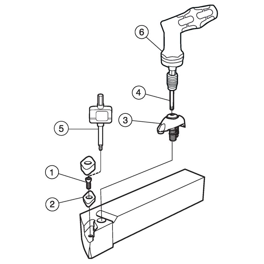
Product Range: CoroTurn PrimeTool Type: All-directional turningAll-directional turning collection. With the CoroTurn Prime SL head solution it is possible to use our PrimeTurning methodology for internal turning. The inside-out machining capability allows for excellent chip evacuation and chip control. CoroTurn Prime B-type now includes double-sided negative inserts with four cutting edges for cost-efficient machining. The tool also features a new robust tip seat design and updated geometries particularly suitable for challenging materials. With two inserts in the holder, the CoroTurn Prime Twin-tool saves significant time when changing tools to increase machine utilization and productivity.Features & Benefits- PrimeTurning all directional turning- Increased output of components and reduced cost per component- Precision over and under coolant- Flexibility to do turning in all directions- Wiper insert available for excellent surface finish- Double the speed and feed rates enable faster metal removal- Shim-protected tip seat for security- TR-style locking interface for stability- Over and under coolant with Coromant Capto holders and QS shanksTurning operations in all-directions- CoroTurn Prime A-type tool with three 35 corners designed for light roughing, finishing and profiling- CoroTurn Prime B-type tool with double-sided negative inserts with four cutting edges, designed for finishing and roughing- Machines: Turning centres, vertical lathes and multi-task machines- Good choice for mass production or components needing frequent set-ups and tool changes- External turning: Best suited for short and compact components and the slender ones using tail stock- Internal turning: For diameters above 40 mm (1.575 inch) and overhangs up to 810 D
| Maximum Overhang | 40mm |
| Coolant Entry Style | Without Coolant |
| Functional Length | 125mm |
| Shank Width | 20mm |
| Damping Property | No |
| Machine Side Body Angle | 0\u00b0 |
| Weight | 0.36kg |
| Workpiece Side Body Angle | 0\u00b0 |
| MFR Part No. | 7182455 |
| Unit Measured | Metric |
| Tool Lead Angle | -5deg |
| Maximum Ramping Angle | 23\u00b0 |
| Body Material | Steel |
| Coolant Exit Style | 0 |
| CoroPak | 17.1 |
| Through Hole Function Property | Yes |
| Hand Preference | Left |
Payment & Security
Payment methods
Your payment information is processed securely. We do not store credit card details nor have access to your credit card information.



