- £219.99Unit price /Unavailable
- Sold out£439.99Unit price /Unavailable
- Sold out£395.99Unit price /Unavailable
- Sold out£439.99Unit price /Unavailable
- Sold out
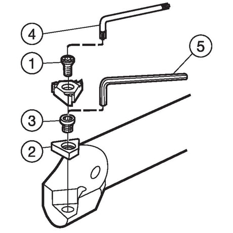
R166 OKF 16 1625 11B Toolholder
£219.99Unit price /Unavailable
R166 OKF 16 1625 11B Toolholder